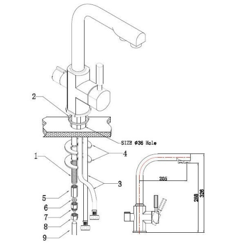
Удобное управление благодаря одной рукоятке включения. Современные формы, которые придают ему строгость. Имеется подключение под фильтр (питьевая вода). Не нужно выводить отдельный кран для питьевой воды т.к. внутри смесителя проходит магистраль для нее и ее легко подключить. Боковая рукоятка слева активизирует подачу питьевой воды.
| Характеристики | |
| Цвет | нержавеющая сталь |
| Материал корпуса | латунь |
| Тип излива | поворотный |
| Управление | рычажное |
| Монтаж | на мойку |
| Переключатель на фильтр | есть |
| Количество монтажных отверстий | 1 |
| Каскадный излив | нет |
| Стиль | традиционный |
| Высота излива (см) | 40 |
| Длина излива (см) | 388 |
| Запорный клапан | керамический картридж |
Смеситель для кухни Kaiser Decor 40144
- Бренд: Kaiser
- Модель:
- Наличие: В наличии
-
11 530 ₽
- Без налога: 11 530 ₽


